学校主页
/
校内邮箱
/
校园门户
/
首页
机构设置
部门简介
现任领导
组织机构
AB岗设置
科研项目
自然科学项目
人文社科项目
军民融合项目
地调项目
科研基地
科研平台
管理办法
成果转化
成果转化
科技园
科研成果
科研奖励
知识产权
党建工作
党建动态
保密宣传教育
相关下载
新系统操作视频
项目管理
成果转化
成果奖励
保密管理
地调项目
科研项目
自然科学项目
人文社科项目
军民融合项目
地调项目
军民融合项目
当前位置:
首页
科研项目
军民融合项目
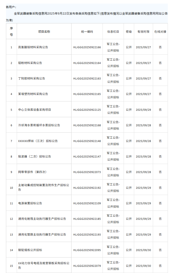
2025年09月22日互联网新增213条军工采购公告
发布者:系统管理员
发布时间:2025-09-23
浏览次数:
18
详细内容请查阅“全军武器装备采购信息网”--2025年09月22日互联网新增213条军工采购公告
关注二维码
地址
西安市朱宏路北段长安大学渭水校区北辰楼8楼(710018)
邮箱
kyy@chd.edu.cn